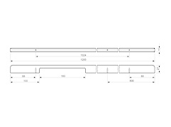
Меблева профільна ручкаVirno Lines 406/1024, чорний матовий
Тип ручки: профільна
Колір: чорний матовий
Міжцентрова відстань, мм: 1024
Довжина ручок Virno Lines 1200 мм дозволяє використовувати їх на фасадах великих розмірів, що особливо актуально для масивних меблів - великих шаф купе, високих пеналів. Три додаткових отвори для кріплення по середині ручки



